北京市凌鹰起重机械厂
地址:北京市昌平区东小口
二十四小时手机:18611422091(同微信)
传真: 010-58043523
网址:www.j4e3.cn
抖音:lyqz18611422091
扫一扫加微信好友




安全制动器是电动葫芦的一个非常重要的安全装置,是为了防止电动葫芦发生溜钩故障而设计的。下面北京凌鹰技术人员解说一下电动葫芦安全制动器的机构组成及工作原理:
安全制动器的整体结构如图1所示。主要是一个棘轮机构构成,棘轮机构由棘轮组件和棘爪组件组成,棘轮组件安装在电动葫芦的卷筒上,棘爪组件安装在葫芦外壳上。
?

?
(一)棘轮组件结构
棘轮组件主要包括两块棘轮片、摩擦片、凸轮、联接螺栓。两块棘轮片是两个半圆形,用联接螺栓链接起来合成一个整棘轮,压紧摩擦片紧固在卷同上,调节联接螺栓的松紧,可以调节摩擦片制动摩擦阻力的大小。棘轮四周均匀分布12个轮槽和12个凸起,并均匀钻有6个螺栓孔,用与凸轮联接,如图2所示。凸轮主要用来拔动棘爪上的轴承,其上均匀分布12个凸起,四周也均匀钻有6个螺栓孔,用螺栓将凸轮紧固在棘轮片上并使凸轮的凸起与棘轮的轮槽保持适当的距离,如图3所示。
?

?
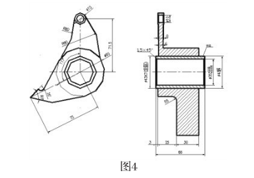
(二)棘爪组件结构
棘爪组件主要包括棘爪板、销轴、轴承。棘爪组件的棘爪板形状如图4所示,其中心装有销轴,安装在葫芦外壳上,棘爪可以绕销轴作一定角度的摆动,棘爪板上端有轴承,轴承与棘轮组件上的凸轮接触。
?

?
(三)安全制动器工作原理
在正常情况下,卷筒匀速转动,重物匀速上升和下降,且速度控制在一定范围内,此时,装在卷筒上的棘轮组件也随卷筒匀速转动,凸轮轻轻拨动棘爪板上端的轴承,棘爪板绕销轴作小角度摆动,不影响电动葫芦的正常使用。当点击制动失灵、断轴或减速器损坏时,重物超速下降达到一定的值,卷筒的转速也增加到一定的速度,凸轮会加速拨动棘爪上的轴承,使棘爪板摆动的频率增快、角度加大,当摆动达到一定角度时,棘爪的爪部插入棘轮轮槽,棘轮与棘爪之间为棘轮轮槽与棘爪咬合,这时棘轮被迫停止转动,棘轮摩擦片对卷筒产生摩擦阻力消耗能量,直至卷筒完全制动,重物停止下降。
上一条:详解环链电动葫芦智能控制器的“小材大用”
下一条:技术创新——手拉葫芦在煤矿中如何确保操作安全
北京市凌鹰起重机械厂
地址:北京市昌平区东小口
二十四小时手机:18611422091(同微信)
传真: 010-58043523
网址:www.j4e3.cn
抖音:lyqz18611422091
扫一扫加微信好友
