北京市凌鹰起重机械厂
地址:北京市昌平区东小口
二十四小时手机:18611422091(同微信)
传真: 010-58043523
网址:www.j4e3.cn
抖音:lyqz18611422091
扫一扫加微信好友




手拉葫芦,是目前常用的起重吊装设备,具有可靠性高、使用灵活简单、适应性强等特点,也是现阶段煤矿生产中液压支架吊装、设备安装、单体支柱回收、大型工件运输等作业的主要吊装设备,但存在劳动强度大、作业效率低、操作时人员起吊现场太近,安全不易保证等缺点。根据上述缺点北京凌鹰创新了一种手拉葫芦液压驱动装置,解决了手拉葫芦在煤矿操作中不能确保安全的问题。
(1)具体方案如图1所示,一种手拉葫芦液压驱动装置由非圆轮系乳化液马达1、集成阀组2、专用联轴器3、快速联接机构4共计四部分组成。
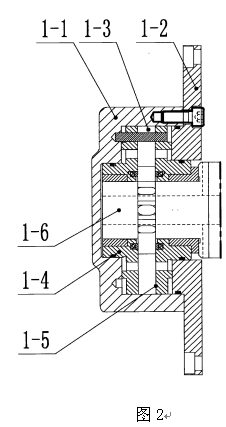
(2)如图2所示,其中:非圆轮系液压马达1主要由壳体1-1、前端盖1-2、非圆轮齿轮组1-3、上配流盘1-4、下配流盘1-5、轴1-6组成,该部分的主要功能是将压力水、压力油等液压源的液压能转换成旋转的机械能驱动手拉葫芦进行工作。如图5所示,所述非圆轮齿轮组由外齿圈1-3-1、转子1-3-2及滚轮1-3-3组成,所述滚轮1-3-3设在内部,转子1-3-2设在滚轮1-3-3和外齿圈1-3-1中间,通过转子1-3-2带动滚轮1-3-3和外齿圈1-3-1转动。
(3) 如图1所示,集成阀块2主要由三位四通换向阀2-1、平衡阀2-2组成,其中2-1的功能是控制非圆轮系液压马达1的旋转方向,平衡阀2-2的功能是保持1-1运行平稳,并通过限制其供液系统的高工作压力来实现对本装置的大输出力进行限定。
(4)如图1所示,专用联轴器3的由超越离合器3-1、链轮3-2组成,其功能一是实现非圆轮系液压马达与减速机构的动力联接,二是实现在使用其原手拉功能时保证手拉葫芦的减速、 制动机构与非圆轮系液压马达1有效脱开。
(5)快速连接机构4的主要功能是实现非圆轮系液压马达1与手拉葫芦的快速联接,主要由外套、抱紧机构组成。其主要功能是保证同轴度的前提下将本装置与手拉葫芦快速可靠连接。
这种手拉葫芦液压装置的设计不改变原有手拉葫芦的原有性能,在普通手拉葫芦加装该装置后,可以以高压水、煤矿乳化液为动力源驱动手拉葫芦进行作业,提高作业效率,煤矿安全高效生产。
?


?
?
?
?
?
?
?
上一条:解析电动葫芦安全制动器的“内脏结构”及工作原理
下一条:不容小觑的钢丝绳电动葫芦使用规则
北京市凌鹰起重机械厂
地址:北京市昌平区东小口
二十四小时手机:18611422091(同微信)
传真: 010-58043523
网址:www.j4e3.cn
抖音:lyqz18611422091
扫一扫加微信好友
