北京市凌鹰起重机械厂
地址:北京市昌平区东小口
二十四小时手机:18611422091(同微信)
传真: 010-58043523
网址:www.j4e3.cn
抖音:lyqz18611422091
扫一扫加微信好友




大家好,我的名字叫导绳式电动葫芦,是一种可以防脱绳的电动葫芦!可以有效的防止导绳混乱、重叠而引发的电动葫芦的故障,我的主人是北京市凌鹰起重机械厂!
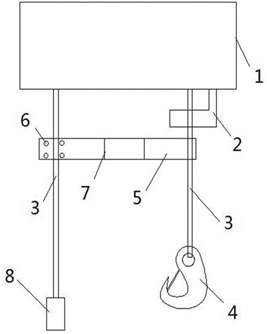
“我”主要包括电动葫芦本体,电动葫芦本体连接有导绳,导绳的两端均位于电动葫芦本体外部,导绳的一端连接有吊钩,导绳的另一端连接有操作手柄,导绳上固连有U形板,U形板的开口端通过紧固螺栓与连接有操作手柄的导绳固定,U形板包括前侧板和后侧板,前侧板向后倾斜,后侧板向前倾斜,后侧板的中部设有凹槽,凹槽内安装有限位开关。
U形板的开口端设有用来紧固与操作手柄连接的导绳的紧固槽。紧固螺栓设置有两排,两排紧固螺栓之间留有用来紧固与操作手柄连接的导绳的紧固腔。U形板封闭端的内侧设有橡胶层。U形板的上方设有上限位挡块,上限位挡块与电动葫芦本体固连且穿过与吊钩连接的导绳。U形板是一体成型。
大家知道“我”的优点是什么吗?通过在导绳上安装U形板,利用U形板的开口端将导绳固定的一端也就是与操作手柄连接的一端固定,将与吊钩连接的一端的导绳穿过U形板的封闭端形成的空腔,可以对导绳起到一定的导向限定作用,能够避免使用时悬伸在外部的导绳随意晃动发生缠绳,并可节省安装维修导绳器的费用,使用可靠、节约成本;同时,在U形板上安装限位开关,当吊钩运行到设定位置便能触发限位开关,能够避免吊钩运行到极限位置时才响应,可消除使用过程中的安全隐患,提高使用的安全性。
我的作用有没有很强大?想要把我带回家,可以咨询我的主人——北京市凌鹰起重机械厂哦!
备注:下面是“我”的结构示意图,便于对我的深入了解!图中,1、电动葫芦本体,2、上限位挡块,3、导绳,4、吊钩,5、U形板,6、紧固螺栓,7、限位开关,8、操作手柄。

上一条:静音技术——手动液压搬运车
下一条:手拉葫芦工作原理及日常维护
北京市凌鹰起重机械厂
地址:北京市昌平区东小口
二十四小时手机:18611422091(同微信)
传真: 010-58043523
网址:www.j4e3.cn
抖音:lyqz18611422091
扫一扫加微信好友
