北京市凌鹰起重机械厂
地址:北京市昌平区东小口
二十四小时手机:18611422091(同微信)
传真: 010-58043523
网址:www.j4e3.cn
抖音:lyqz18611422091
扫一扫加微信好友




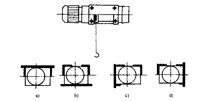
钢丝绳电动葫芦型式有很多种,包括固定式、单轨小车式、双梁葫芦小车式、单主梁角形葫芦小车式。固定式又可以分为上方固定式(a)、下方固定式(b)、左方固定式(C)和右方固定式(d)。如下图所示:

钢丝绳电动葫芦型式的选择主要看具体的使用环境和使用场所,如只需在一个位置进行起吊即可,那么选择固定式即可,如需在工字钢轨道上左右行走,那就需要选择运行式。例如:单轨小车式适用于具有运行机构,以单轨下翼缘作为运行轨道的电动葫芦,根据电动葫芦总体布置的结构形式不同,可分为标准建筑高度和低建筑高度两种。在普通使用环境中,只需选择标准建筑高度的钢丝绳电动葫芦即可,而低矮建筑物中则需选择低建筑高度的钢丝绳电动葫芦。
一般专业的技术人员,可以准确的选择出需要的钢丝绳电动葫芦的型式,但是一些不太专业的人员在选择上就会有一定的困难,其实简单的方法就是咨询我们的销售人员,只需要说清楚起吊什么东西,在什么样的环境中使用,起重量和起升高度是多少等具体的需求即可。销售人员一般会站在比较专业的角度去进行分析,然后推荐出一款更为适合的钢丝绳电动葫芦产品。

上一条:0.25-20吨CD1/MD1型电动葫芦装箱单
下一条:不知道防止钢丝绳电动葫芦卡绳的方法你就OUT了
北京市凌鹰起重机械厂
地址:北京市昌平区东小口
二十四小时手机:18611422091(同微信)
传真: 010-58043523
网址:www.j4e3.cn
抖音:lyqz18611422091
扫一扫加微信好友
