北京市凌鹰起重机械厂
地址:北京市昌平区东小口
二十四小时手机:18611422091(同微信)
传真: 010-58043523
网址:www.j4e3.cn
抖音:lyqz18611422091
扫一扫加微信好友




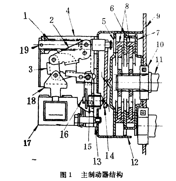
高速型环链电动葫芦一般采用双重制动方式,既具有自动调整的主制动器和装在电动机内的辅助制动器。一般更可以适应高度、频繁的作业。
主制动器是电源切断时动作的制动方式。当与电动机同时给电磁铁通电时,可动铁心被吸引,制动面松开。制动时断电,依靠弹簧力推压制动轮产生制动力。由于制动器随着制动次数和吸收能量而磨损,制动力逐渐减小,滑移增加,电磁铁行程增加,因此需要我定期调整。而这种制动器能自动进行调整,即制动轮的磨损所造成的电磁铁的增加,可由调整杠杆跟踪。如果行程过大,可使调整螺钉回转,恢复到原来的正常状态。万一至制动器失效时,辅助制动器不会使载荷加速落下,而以等速下降。这是应用了一种离心式制动器,是在没有异常下架就不动作的小型、省能式的安全制动器。

备注:1为压力弹簧,2、3为连杆A、B,4为弹簧压板,5/6/7为制动盘A/B/C,8为制动轮,9为机架,10为轴承,11为一级轴齿轮,12,13为制动电磁铁支架A、B,14为制动器杠杆,15为调整螺钉,16为调整杠杆,17为固定铁心,18为可动铁心,19为制动杆。
上一条:保定市清苑县手拉葫芦蓬勃发展
下一条:钢丝绳吊索具如何满足大吨位吊装需求
北京市凌鹰起重机械厂
地址:北京市昌平区东小口
二十四小时手机:18611422091(同微信)
传真: 010-58043523
网址:www.j4e3.cn
抖音:lyqz18611422091
扫一扫加微信好友
