北京市凌鹰起重机械厂
地址:北京市昌平区东小口
二十四小时手机:18611422091(同微信)
传真: 010-58043523
网址:www.j4e3.cn
抖音:lyqz18611422091
扫一扫加微信好友




微型电动葫芦的下限位装置是如何发展的?是否存在缺陷,以及改进的方法是什么?北京凌鹰为您详细介绍:
一、现有技术
目前电动葫芦上使用的上、下限位保护装置一般用于单层绕线技术的大中型电动葫芦上,上、下限位开关安装在机器两侧或者偏中间的位置;电动葫芦工作时,钢丝绳上下运行带动排线器,再由排线器带动限位杆左右移动,当移动到上、下限位开关处时,限位杆上的碰块压下上、下限位开关的触头来实现上、下限位的目的;由于单层排线结构导致电动葫芦绳筒体积变大、变长。
二、存在的缺陷
目前使用的微型电动葫芦的钢丝绳采用多层绕线技术,不适合采用大中型电动葫芦上的上、下限位保护装置,因此,目前的微型电动葫芦只有配置上限位?;ぷ爸?,而没有下限位保护装置。没有下限位的微型电动葫芦,当货物提升到额定的高度后,通过固定在钢丝绳吊钩之上的配重块带动上限位架触动上限位开关,使电动葫芦停止运行,从而起到安全保护作用;但是,当微型电动葫芦往下牵引工作时,一旦行程超过钢丝绳的额定长度后,如不及时关闭电源而任其运行,即会导致钢丝绳在绳筒上反绕,下降的货物会重新向上提升,由于反绕钢丝绳是紧压上限位内侧工作,如不及时采取措施,对钢丝绳和上限位架装置均会产生严重的损害,存在着严重的安全隐患。
三、改进方法
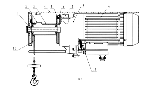
根据上述提出的技术上的缺陷,某起重机械公司,提出一种结构简单合理、运行安全可靠的微型电动葫芦下限位装置,包括电机9、减速箱8、外壳4、绳筒3、绳筒轴1、钢丝绳10,绳筒3的筒子上设有触簧口,与减速箱8相邻的绳筒3侧壁上铰接有限位触簧,限位触簧2一端从绳筒3内伸进筒子并凸出触簧口,限位触簧2另一端沿绳筒3侧壁向外沿伸至筒缘并固定有弧形限位触块6,弧形限位触块6与绳筒3侧壁之间设有复位弹簧5,减速箱8上固定有与弧形限位触块6相对应的下限位开关7。
四、改进的优势
采用上述结构后,当微型电动葫芦往下牵引工作时,一旦行程超过钢丝绳的额定长度后,限位触簧摆脱钢丝绳的压力,在复位弹簧的弹力作用下绕支点转动并带动弧形限位触块触动下限位开关,使电动葫芦停止运行,从而起到安全?;さ淖饔谩?/p>
备注:图1为改进后的微型电动葫芦下限位装置

?
上一条:分析船用环链电动葫芦的“缺陷”及“改进”
下一条:你不知道的手拉葫芦八大特点
北京市凌鹰起重机械厂
地址:北京市昌平区东小口
二十四小时手机:18611422091(同微信)
传真: 010-58043523
网址:www.j4e3.cn
抖音:lyqz18611422091
扫一扫加微信好友
