北京市凌鹰起重机械厂
地址:北京市昌平区东小口
二十四小时手机:18611422091(同微信)
传真: 010-58043523
网址:www.j4e3.cn
抖音:lyqz18611422091
扫一扫加微信好友




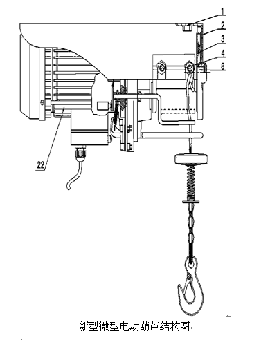
微型电动葫芦具有外形美观、使用方便、噪音小等特点,被广泛应用于电子、汽车、造船等场所。现存钢丝绳电动葫芦极易产生缠绕乱层,而且当钢丝绳损坏后调换钢丝绳需要拆卸很多部件。为了防止这种情况的出现,增加微型电动葫芦的使用寿命,北京凌鹰做了相对的技术改变,研发出新型的微型电动葫芦。
这种微型电动葫芦包括电机、绳筒、钢丝绳、罩壳组件,绳筒的两侧固定有左右端板,罩壳组件由罩壳与罩壳端板焊接而成,绳筒的转轴一端与电机输出轴连接,另一端可转动地设置在罩壳端板上,电机与罩壳固定连接;右端板上设有钢丝绳穿孔槽,钢丝绳从钢丝绳穿孔槽引入绳筒并圈绕在绳筒上,钢丝绳的末端固定在右端板的钢丝绳固定装置上,钢丝绳的头部连接吊钩组件,罩壳端板上设有与钢丝绳穿孔槽和钢丝绳固定装置相对应的牵绳孔。绳筒绕线直径加大,在钢丝绳长度不变的前提下使钢丝绳层数减少,起到减轻钢丝绳相互之间挤压力的作用,同时可加快吊重速度。
钢丝绳固定装置包括固定在右端板上的钢丝绳固定卡扣、钢丝卡块,钢丝卡块为大小头榫状结构,钢丝绳的末端绕过钢丝卡块并通过钢丝卡块的大头卡紧在钢丝绳固定卡扣的卡槽内。
罩壳上固定有排线器组件,该组件包括防松滚子、滚子轴、调节座、压力调节活动套、压簧、压力调节固定套,滚子通过滚子轴可转动的设置左右调节座上,左右调节座与对应的左右压力调节活动套固定连接,左右压力调节活动套对应套设在左右压力调节固定套上,左右压力调节固定套对应固定在罩壳上,压簧设置在压力调节活动套与压力调节固定套之间,防松滚子紧压在绳筒的钢丝绳上。
新型微型电动葫芦与现有微型电动葫芦相比的优点一是绳筒绕线直径加大后,在钢丝绳长度不变的前提下使钢丝绳层数减少,起到减轻钢丝绳相互之间挤压力的作用,同时可加快吊重速度。二是钢丝绳损坏后拆装调换更加简单、方便和实用。三是增加排线器组件后保证钢丝绳在每层都能排列有序、紧凑,避免了不规则的挤压损伤,从而提高钢丝绳的使用寿命。
备注:下图为新型的微型电动葫芦,其中1罩壳,2罩壳端板,3右端板,4排线器组件,8转轴,22电机。

?
?
?
?
?
?
上一条:有适合高空作业的手扳葫芦吗?
下一条:静音技术——手动液压搬运车
北京市凌鹰起重机械厂
地址:北京市昌平区东小口
二十四小时手机:18611422091(同微信)
传真: 010-58043523
网址:www.j4e3.cn
抖音:lyqz18611422091
扫一扫加微信好友
