北京市凌鹰起重机械厂
地址:北京市昌平区东小口
二十四小时手机:18611422091(同微信)
传真: 010-58043523
网址:www.j4e3.cn
抖音:lyqz18611422091
扫一扫加微信好友




目前市场上的电动葫芦都带有限位装置,但是使用时间过长之后限位开关容易移位,会出现限位开关失灵,严重时出现电动葫芦顶撞现象,出现重大生产事故。根据以上情况,北京凌鹰提供一种能够保证电动葫芦长期安全使用的电动葫芦限位报警装置。
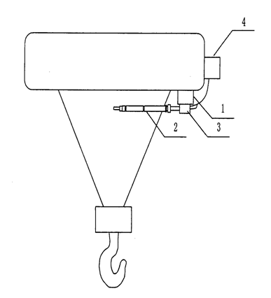
电动葫芦限位报警装置,包括安装在电动葫芦上的限位检测装置,电动葫芦上位于所述限位检测装置的下方设有报警检测装置,报警检测装置通过报警启动开关连接有报警装置;本实用新型的有益效果是:在电动葫芦的限位检测装置的下方安装有开关探针,能够在电动葫芦的限位开关工作之前检测到电动葫芦的上升位置,发出报警提示工作人员电动葫芦即将达到上限位置,达到预警的效果,同时再加上安装限位开关为电动葫芦的安全使用起到双重保险。
电动葫芦限位报警装置,包括安装在电动葫芦上的限位检测装置1,所述电动葫芦上位于所述限位检测装置1的下方设有报警检测装置2,所述报警检测装置2通过报警启动开关3连接有报警装置4,所述报警装置4为声音报警装置或灯光报警装置,所述报警检测装置2为与所述报警启动开关连接的开关探针。
当电动葫芦吊钩悬挂的物体上升至开关探针的检测范围之内,开关探针就能检测到物体的位置信息,所述报警检测装置2通过报警启动开关3与报警装置4电连接起来,所述报警装置4为声音报警装置或灯光报警装置,当开关探针检测到物体的位置信息后,传输到启动开关3中,从而启动报警装置4,报警装置4通过声音或灯光将信息传输给工作人员,以便于引起他们的注意,防止电动葫芦因过度上升而碰撞损坏,有效地保证电动葫芦的安全使用。

上一条:如何实现手拉葫芦的运行
下一条:有适合高空作业的手扳葫芦吗?
北京市凌鹰起重机械厂
地址:北京市昌平区东小口
二十四小时手机:18611422091(同微信)
传真: 010-58043523
网址:www.j4e3.cn
抖音:lyqz18611422091
扫一扫加微信好友
