全国24小时空降平台网站,附近月抛群,快活林手机版登录入口,深圳福田区品茶工作室

快速导读:电动葫芦 钢丝绳电动葫芦 防爆电动葫芦 多功能电动提升机 建筑爬架电动葫芦

新闻动态

一种带齿轮齿条定位的起重机

编辑:凌鹰起重机械   浏览:5091   添加时间:2014-10-07 08:09:46
技术领域:本实用新型涉及一种带齿轮齿条定位的起重机。
背景技术:
风力发电等环境恶劣条件下使用的起重机在行车时必须可靠定位。目前,起重机存在定位可靠性、安全性比价差的问题。本使用新型的结构简单,成本较低,利用蜗轮、蜗杆本身的自锁功能实现起吊物
的准确定位。提供了一种定位精准、冲击力较小、不易打滑的起重机械上的小车与工字钢间的传动装置。提供了一种定位精准、冲击力较小、不易打滑的起重机上的小车与工字钢间的传动装置。起重机
上的小车与工字钢间的传动装置,在工字钢下面固定有齿条,齿条的下面、小车两个连接轴直接设有传动轴,传动轴两端设在固定座墙板上的轴承套黎的轴承内。大传动齿轮与减速机输出轴上的齿轮相
啃合的齿轮,改齿轮与传动轴固定在一起。由于利用固定的齿条与齿轮的啃合带动小车运动,使小车在运动和停止过程中不易打滑,定位更加精确,冲击力减小,也能完成运动轨迹有亵渎要求的场合需要。
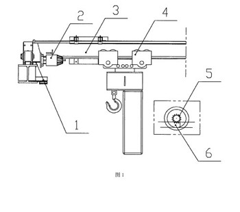
一种带齿轮齿条定位的起重机结构图如下:

具体实施方式:结合附图具体介绍:图1为一种带齿轮条定位的起重机结构原理图,由桥架(3)、小车(4)、大车三合一装置(2)、齿轮齿条传动装置(1)组成;齿轮齿条传动装置(1)在起重机运行时,在电
机减速装置驱动下,电机停止转动,齿轮齿条传动装置中的齿轮(5)卡在齿条(6)上,起重机完全停止,克服了车轮组滑动位移。起重机桥架(3)与H型钢主梁和箱型端两用高强度螺旋联接,组合成桥梁
型结构,小车(4)为环链葫芦,挂于主梁下翼缘板上运行,并完成升降动作,葫芦运行为电动,停止手板固定。打车三合一装置(2)至于端梁一端,该装置由电机(自带制动器)减速器组成,减速器
输出齿轮在铺于成轨梁上的齿条上运行。齿轮齿条定位起重机的关键是当运行停止制动时候,在制动力矩作用下,齿轮固定于齿条上。

上一条:起重葫芦的吊钩
下一条:提升爬架系统安装和质量要求

相关新闻:

 
点击这里给我发消息 点击这里给我发消息