北京市凌鹰起重机械厂
地址:北京市昌平区东小口
二十四小时手机:18611422091(同微信)
传真: 010-58043523
网址:www.j4e3.cn
抖音:lyqz18611422091
扫一扫加微信好友




钢丝绳电动葫芦是由数个可拆开的单独部件组成,主要包括起升减速器、运行机构、卷筒装置、吊钩装置、电动机、电气控制装置等,结构特点及原理分述如下:
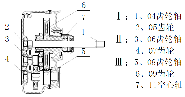
起升减速器:电动葫芦起升减速器,均采用标准模数斜齿轮三级减速。齿轮及齿轮轴由合金钢锻制,并经热处理。全部采用滚动轴承。箱壳为铸铁制造,装配严密,灰尘不易侵入。传动原理见下图:

运行机构:电动葫芦的运行机构为电动式,固定式无此机构。减速器齿轮位合金钢锻制,并经热处理,采用二级减速,全部采用滚动轴承,箱壳为灰铸铁制造。根据品种规格的不同,运行机构结构型式也有所不同。
卷筒装置:起升高度H=6-12m时,卷筒为铸铁制成。H>12m时为钢卷筒,其左端以花键与减速器输出空心轴连接,另一端则以滚动轴承架于电动机前端盖伸出部分上。卷筒外壳以钢板卷成。钢丝绳按卷筒上的螺旋槽缠绕,绳一端用压绳板固定在卷筒上,另一端用楔形塞块固定于外壳上。
吊钩装置:吊钩采用DG20吊钩专用钢模锻而成,悬于滚动轴承上,用十字头与吊钩外壳相连接,使吊钩能自由旋转与摆动。
联轴器与中间轴:电动机的力矩,通过爪式弹性联轴器、中间轴传给减速器,该联轴器能吸收冲击载荷获得平稳的起动。联轴器的左端花键套能相对滑动,以保证电动机起动时所需的轴向窜动量。
?
上一条:烟气脱硫工程中电动葫芦的安装程序
下一条:手拉葫芦需停止起吊的几个条件
北京市凌鹰起重机械厂
地址:北京市昌平区东小口
二十四小时手机:18611422091(同微信)
传真: 010-58043523
网址:www.j4e3.cn
抖音:lyqz18611422091
扫一扫加微信好友
