北京市凌鹰起重机械厂
地址:北京市昌平区东小口
二十四小时手机:18611422091(同微信)
传真: 010-58043523
网址:www.j4e3.cn
抖音:lyqz18611422091
扫一扫加微信好友




手动液压搬运车有很多的称呼,搬运车、叉车、地牛说的都是它。在商场、物流园、超市、搬家公司等地都能看到它的身影。手动液压搬运车有很多的特点,保证了其基本使用性能。
凌鹰搬运车一般采用一体泵,质量上更加的优质,价格也相对较高。钢板厚度,优质的3吨手动液压搬运车钢板厚度在4mm左右。轮子分为PU轮和聚氨酯轮,使用的场地不同。
手动液压搬运车的组装调试方法如下:
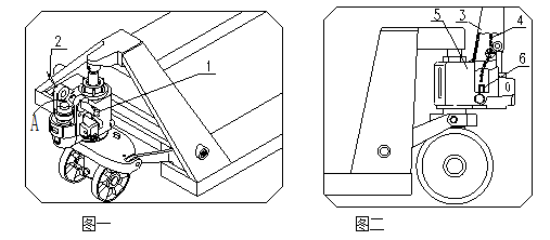
1、参见图一,拔出销轴1。

2、将手柄3插入A处,用销轴1将手柄3与泵体5联结起来。
3、然后将弹性销2穿过销轴1固定。
4、将手柄上的链条4穿过销轴1中间的孔。见图二
?

?
?
5、将链条4端部的螺钉螺母挂入杠杆板6的槽内。见图二、图四
6 、如图三扳动手柄3,拔出销子7,并将销子7妥善保存,以备下次更换手柄时使用。
?

组装完毕车辆调试。
1、车辆组装完毕后,用手柄试摇一下,并操作控制捏手10的不同档位,看看车子上升、空档、下降是否正常。见图五
2、图四中的螺钉9是用作调整车况的。当车体上升后又马上下降,可将螺钉53逆时针转一点然后再试一下车子,直到正常上升。如果车体上升后无法下降,可将螺钉9顺时针转动一点然后再试一下车子,直到能正常下降。螺钉9处的外六角螺母8是起锁紧作用的,调整前应松开,调整完毕后应锁紧。

?
上一条:起重葫芦在夏季维护的要点
下一条:永磁起重器的磁路设计原理
北京市凌鹰起重机械厂
地址:北京市昌平区东小口
二十四小时手机:18611422091(同微信)
传真: 010-58043523
网址:www.j4e3.cn
抖音:lyqz18611422091
扫一扫加微信好友
